Case IH 460 Tractor Parts
460 parts and accessories
The Case IH 460 tractor, manufactured from 1958 to 1960, was a popular choice for farmers seeking a reliable and versatile machine. Powered by an International Harvester 4-cylinder engine producing approximately 47 horsepower, the 460 delivered ample power for various tasks. With a PTO horsepower of around 41, it excelled in powering implements for plowing, tilling, and other agricultural operations.
The Case IH 460 was introduced as part of the 00 series, building upon the success of previous International Harvester models. Production ran from 1958 to 1960. It featured an International Harvester C-264 4-cylinder engine, delivering approximately 47 horsepower. This engine had a displacement of 264 cubic inches and was available in both gasoline and LP gas versions. The transmission was a gear-type with either 5 forward and 1 reverse speeds or 10 forward and 2 reverse speeds with the Torque Amplifier. The PTO horsepower was rated at around 41 HP, and it offered a standard 540 RPM PTO. Hydraulic capacity was approximately 9.5 GPM, supporting the operation of rear remotes. It had a Category I or II 3-point hitch. The 460 was commonly used for various farming applications including row crop work, haying operations, and general livestock tasks. What set it apart from others in the lineup was its balanced combination of power, size, and affordability, making it a valuable asset to many farms. The Torque Amplifier option offered operators increased flexibility to match the tractor's speed to the terrain or the implement load.
Specifications
| Engine | International Harvester C-264 47 HP Gas/LP |
|---|---|
| PTO HP | 41 HP @ 540 RPM |
| Transmission | Gear Type 5/1 or 10/2 w/ TA |
| Hydraulics | 9.5 GPM, 2 remotes |
| 3-Point Hitch | Category I/II, 2500 lbs |
| Fuel Capacity | 19 gallons |
| Weight | 4750 lbs |
| Years Produced | 1958-1960 |
Maintenance Tips
- Change the engine oil and filter every 100-125 hours of operation, using the recommended oil type for your climate.
- Regularly inspect and maintain the hydraulic system, checking for leaks and ensuring proper fluid levels. Replace hydraulic filters according to the manufacturer's recommendations.
- Keep the fuel system clean by using quality fuel and adding a fuel stabilizer, especially during seasonal storage. Drain any water accumulation in the fuel tank and replace fuel filters regularly.
- Before storing the tractor for the winter, drain all fluids, flush the cooling system, and grease all fittings. Disconnect the battery and store it in a cool, dry place.
History & Background
The Case IH 460 tractor was introduced in 1958 as part of International Harvester's updated lineup. It represented a step forward in tractor design, offering improved performance and operator comfort compared to its predecessors. The 460 played a significant role in the mechanization of agriculture during the late 1950s and early 1960s.
Frequently Asked Questions
What engine is in the Case Ih 460?
The Case IH 460 is equipped with an International Harvester C-264 4-cylinder engine producing approximately 47 horsepower. It was available in gasoline or LP gas versions.
What is the PTO horsepower on a 460?
The PTO horsepower on a Case IH 460 is approximately 41 HP, operating at 540 RPM.
What oil filter fits the 460?
Common oil filter options for the Case IH 460 include Wix 51010, Fram PH8A, and equivalent cross-references from other brands. Always verify compatibility with your specific engine configuration.
What are common parts needed for the 460?
Common parts frequently needed for the Case IH 460 include oil filters, fuel filters, air filters, belts, hydraulic seals and hoses, steering components like tie rod ends, clutch discs, and throwout bearings.

LF563 - Cartridge (QTY 12) Lube Filter
SKU: LF563
38 in stock

HF6066J - Cartridge (QTY 1) Hydraulic Filter
SKU: HF6066J
Out of stock

HF6066 - Cartridge (QTY 6) Hydraulic Filter
SKU: HF6066
27 in stock

HF6020J - Cartridge (QTY 1) Hydraulic Filter
SKU: HF6020J
Out of stock

HF6020 - Cartridge (QTY 6) Hydraulic Filter
SKU: HF6020
1 in stock

FF134J - Cartridge (QTY 1) Fuel Filter
SKU: FF134J
Out of stock

FF134 - Cartridge (QTY 12) Fuel Filter
SKU: FF134
42 in stock

WBKIH2 - Wheel Bearing Kit
SKU: WBKIH2
Out of stock
ST202 - BALL BEARING
SKU: ST202
43 in stock

60351 - Thrust Spindle Bearing
SKU: 60351
116 in stock

48548D - Hub Wear Sleeve
SKU: 48548D
6 in stock

48539DA - Seal
SKU: 48539DA
645 in stock

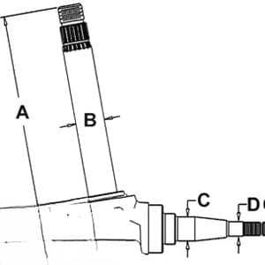
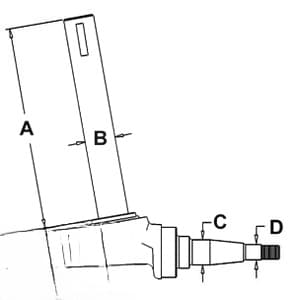
405427R92 - Spindle (RH/LH)
SKU: 405427R92
18 in stock

395310R11 - Front Wheel (6 Bolt) Hub
SKU: 395310R11
22 in stock

392671R91 - Thrust Spindle Bearing
SKU: 392671R91
116 in stock

384006R92 - Inner Tie Rod
SKU: 384006R92
1341 in stock

383911R91 - Spindle (RH)
SKU: 383911R91
19 in stock

383910R91 - Spindle (LH)
SKU: 383910R91
20 in stock

383909R4 - Bolster Casting
SKU: 383909R4
38 in stock
372756R91 - Seal
SKU: 372756R91
205 in stock

369857R1 - Spindle Washer
SKU: 369857R1
526 in stock

359984R93 - Outer Tie Rod
SKU: 359984R93
448 in stock

358978R2 - 1 1/4"Dia. Bolster Pivot Pin
SKU: 358978R2
94 in stock

358976R31 - Center Tube Assembly
SKU: 358976R31
80 in stock
