Products ▾
Part Finder
About
Contact
Home
>
John Deere
>
Backhoe
>
315ch
315ch
315CH parts and accessories
Showing 1-1 of 1 products
Sort by:
Newest First
Name: A to Z
Name: Z to A
Price: Low to High
Price: High to Low
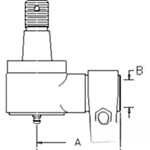
38H1005 - Fitting, Hydraulic, Elbow 90 DEG SW
SKU: 38H1005
$14.99
84 in stock